Описание
Характеристики
Отзывы
Описание
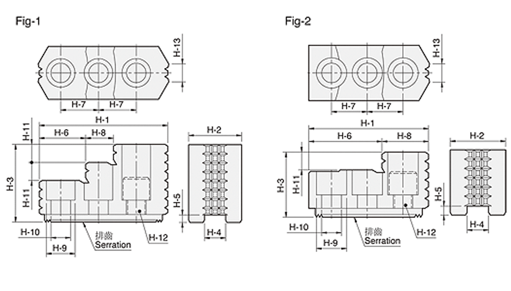
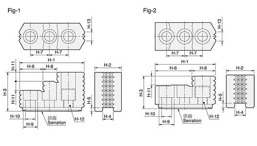
|
Модель |
H-1 |
H-2 |
H-3 |
H-4 |
H-5 |
H-6 |
H-7 |
H-8 |
H-9 |
H-10 |
H-11 |
H-12 |
H-13 |
Шаг зуба |
Схема |
Тип кулачков |
Масса комплекта |
|
HJ05 |
53 |
23 |
27.5 |
10 |
4 |
30.5 |
14 |
22.5 |
13.5 |
8.5 |
10 |
M8 |
6 |
1.5x60° |
Fig-2 |
N-204, N-205 |
0.4 |
|
HJ06 |
67 |
31 |
35 |
12 |
5 |
39.5 |
20 |
27.5 |
17 |
11 |
12 |
M10 |
11 |
1.5x60° |
Fig-2 |
N-206, V-206 |
1.0 |
|
HJ08 |
86 |
35 |
51 |
14 |
5 |
31 |
25 |
18 |
19 |
13 |
12 |
M12 |
12 |
1.5x60° |
Fig-1 |
N-208, V-208 |
1.9 |
|
HJ10 |
99.5 |
40 |
54 |
16 |
5 |
43 |
30 |
17 |
19 |
13 |
13 |
M12 |
15 |
1.5x60° |
Fig-1 |
N-210, V-210 |
2.9 |
|
HJ12 |
103 |
50 |
52 |
21 |
4 |
62.5 |
30 |
40.5 |
25 |
17 |
17 |
M16 |
30 |
1.5x60° |
Fig-2 |
N-212 |
3.5 |
|
HJ12-1 |
103 |
50 |
52 |
18 |
5 |
62.5 |
30 |
40.5 |
22 |
15 |
17 |
M14 |
30 |
1.5x60° |
Fig-2 |
V-212 |
3.6 |
|
HJ15 |
149 |
62 |
86 |
22 |
8 |
63 |
43 |
34 |
32 |
21 |
20 |
M20 |
40 |
1.5x60° |
Fig-1 |
N-215, N-218 |
9.6 |
|
HJ15-1 |
149 |
62 |
86 |
25.5 |
5 |
63 |
43 |
34 |
32 |
21 |
20 |
M20 |
40 |
1.5x60° |
Fig-1 |
V-215, V-218 |
9.5 |
|
HJ24-1 |
159.5 |
80 |
90 |
25 |
9 |
104.5 |
50 |
55 |
32 |
21 |
40 |
M20 |
55 |
3.0x60° |
Fig-2 |
N-220, N-224, N-232 |
14.3 |
Характеристики
Бренд
NTH
Отзывы
Отзывов еще никто не оставлял
Сопутствующие товары
